Zum Inhalt springen

Canon Scoopic (original) - CLA & Reparatur Belichtungsmesser


Empfohlene Beiträge

Geschrieben

Hallo allserseits,

 

ich habe eine Canon Scoopic-16 (die erst Ausführung), die grundsätzlich funktioniert, aber zwei Probleme hat. 

Die automatische Belichtung "pendelt" nach, wenn man also schnell von hell nach dunkel oder umgekehrt schwenkt, wird die Blende zwar korrekt eingestellt, aber der Belichtungsmesser und damit die Blende pendelt 2-3 mal bis zu 1,5 Blendenstufen hoch und runter, bis sich sie sich auf den richtigen Wert "setzt".  Das sieht man natürlich auch im Bild auf dem Film. Hat jemand eine Idee, woher das kommen könnte?

 

Das zweite Problem sind die höheren Gangarten (32 und 48fps), hier gibt die Kamera ein schreckliches Geräusch von sich. Ich gehe davon aus, das das Getriebe verharzt ist und gereinigt werden müsste. Leider hat sich da schon einmal ein Vorbesitzer amateurhaft daran probiert und die Mechanik der Kamera scheinbar mit Öl "geflutet". Sie ist ziemlich nass innen. Man müsste also einen kompletten CLA durchführen.

 

Gibt es in Deutschland oder Europa noch jemanden, der Canon Scoopics wartet?

 

Vielen Dank und viele Grüße, Leander

Geschrieben (bearbeitet)

Ohne, dass ich Ahnung davon habe, da ich mich mit Kameras nicht beschäftige:

Klingt nach überschießender Regelung. Der Regler bekommt vom Sensor das Signal, dass nachgeregelt werden muss, tut dies, aber zu stark.

Wenn ich nun weiter wahrsagen soll, denn mehr ist mit den Informationen kaum anzufangen, tippe ich auf einen defekten Kondensator im Belichtungsmesser, der die überschießende Regelung nicht abfangen kann.Falls es im Inneren der Kamera Potis zum justieren gibt: Wäre ich anfangs vorsichtig. Können im Laufe der Jahre zwar schon die Schleifer oxidiert/verdreckt sein, aber ich würde dann zuerst doch verdächtige Kondensatoren auswechseln.

Bearbeitet von Dent-Jo (Änderungen anzeigen)
Geschrieben (bearbeitet)

Ich kenne nur die DS8 "Scoopic" und deren Beli-Schaltung hat mich aufgeben lassen. Da sind zwei ganz obskure Germanium-Transen drin und ein Vactrol, also ein gekoppeltes LDR/Glühbirnending (in einem Gehäuse!) dass es mit identischem LDR schlichtweg nicht mehr gibt, zumal ja auch die Glühbirne passen muss.  Verstanden habe ich die Schaltung leider auch nicht...

Bearbeitet von Friedemann Wachsmuth (Änderungen anzeigen)
Geschrieben
vor 2 Stunden schrieb Friedemann Wachsmuth:

Da sind zwei ganz obskure Germanium-Transen drin und ein Vactrol, also ein gekoppeltes LDR/Glühbirnending (in einem Gehäuse!) dass es mit identischem LDR schlichtweg nicht mehr gibt, zumal ja auch die Glühbirne passen muss.  Verstanden habe ich die Schaltung leider auch nicht...

Sag‘ nichts gegen Germaniumtransistoren, mit denen bin ich noch groß geworden 😉

(Eher mangels vernünftiger Bauanleitungen, nicht mangels Siliziumtransistoren).

Ein Vactrol ist ja ein historischer Optokoppler, halt mit einer sehr niedrigen Grenzfrequenz, sowas müsste man mit etwas mehr Aufwand durch einen modernen Optokoppler ersetzen können….wenn es sich wirklich lohnt 😜

Geschrieben (bearbeitet)
vor 2 Stunden schrieb Friedemann Wachsmuth:

Tolle Anleitung! Die 16er kommt offenbar ohne Vactrol aus.

Ich hab ggf auch das Service Manual zur Scoopic, ca. 31 MB. Bei Interesse bitte PN mit Email Adresse.

 

Naja, wenn Herz- Nieren- und Lebertransplantationen heute gelingen, könnte man doch den Beli der 16er auch in die DS8 transplantieren...!? 

Bearbeitet von jacquestati (Änderungen anzeigen)
Geschrieben (bearbeitet)

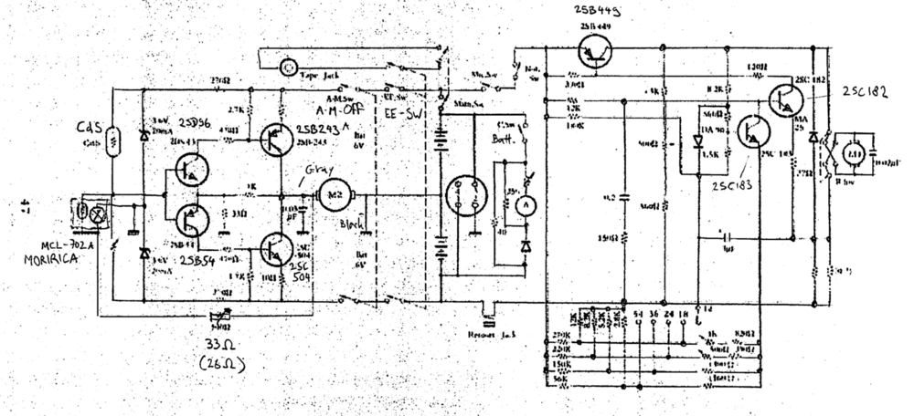
Hier links sieht man den Vactrol im (mies lesbaren) Schaltplan, der MCL-702A. Mir erschliesst sich dessen Funktion da irgendwie nicht, zumal er auch so "nachträglich reingezeichnet" aussieht. Dessen Lampe geht offensichtlich zusammen mit dem Blendenmotor M2 an. Der LDR wird dann niederohmig und zieht den Eingang gegen Masse. Aber warum?


(jetzt dämmert es mir... ist das ne hemdsärmelige Trägheit gegen Überschwingen/Oszillieren?)

 

CleanShot2025-11-14at16_26.41@2x.thumb.png.a4745dff6ea1577b4c51d9493610e469.png

Bearbeitet von Friedemann Wachsmuth (Änderungen anzeigen)
Geschrieben
vor 2 Minuten schrieb jacquestati:

wenn Herz- Nieren- und Lebertransplantationen heute gelingen, könnte man doch den Beli der 16er auch in die DS8 transplantieren

Durchaus, nur gab es definitiv mehrere Schaltungsrevisionen... und es war auch nicht nötig, denn meiner funktionierte nach langem Anstarren wieder, daher hab ich erstmal alles so gelassen.

Geschrieben
vor 31 Minuten schrieb Friedemann Wachsmuth:

Aber warum?


(jetzt dämmert es mir... ist das ne hemdsärmelige Trägheit gegen Überschwingen/Oszillieren?)

Vermutlich, Vactrole wurden wegen ihrer niedrigen Grenzfrequenz gerne als stark dämpfende Rückkopplungsglieder eingesetzt. Wegen der galvanischen Trennung war das zudem recht einfach dimensionierbar.

Geschrieben (bearbeitet)

Dann könnte @Leander eine Scoopic mit Vactrol haben und jenes durch sein. 
Ich hab damals ewig recherchiert und einen (zumindest parametrisch) passenden Ersatz gefunden. Bis die bei mir waren, hatte sich das Problem gelöst. Ich denke, die würde ich ggf. auch wiederfinden. Aber erstmal sollte Leander sein Vactrol testen, wenn er denn eines im Beli hat... den Lampenstrom kann man ja ggf mit dem 33R-Trimmer anpassen. 

Bearbeitet von Friedemann Wachsmuth (Änderungen anzeigen)
  • 4 Wochen später...
Geschrieben

Vielen Dank für eure zahlreichen Hinweise! Ich werde sie hoffentlich zwischn den Feiertagen mal soweit zerlegen können, dass ich mir die Schaltung des Belichtungsmessers anschauen kann und ggf. die Elemente durchmessen kann. Vielleicht bin ich dann etwas schlauer!

Erstelle ein Benutzerkonto oder melde Dich an, um zu kommentieren

Du musst ein Benutzerkonto haben, um einen Kommentar verfassen zu können

Benutzerkonto erstellen

Neues Benutzerkonto für unsere Community erstellen. Es ist einfach!

Neues Benutzerkonto erstellen

Anmelden

Du hast bereits ein Benutzerkonto? Melde Dich hier an.

Jetzt anmelden
×
×
  • Neu erstellen...

Filmvorführer.de mit Werbung, externen Inhalten und Cookies nutzen

  I accept

Filmvorfuehrer.de, die Forenmitglieder und Partner nutzen eingebettete Skripte und Cookies, um die Seite optimal zu gestalten und fortlaufend zu verbessern, sowie zur Ausspielung von externen Inhalten (z.B. youtube, Vimeo, Twitter,..) und Anzeigen.

Die Verarbeitungszwecke im Einzelnen sind:

  • Informationen auf einem Gerät speichern und/oder abrufen
  • Datenübermittlung an Partner, auch n Länder ausserhalb der EU (Drittstaatentransfer)
  • Personalisierte Anzeigen und Inhalte, Anzeigen- und Inhaltsmessungen, Erkenntnisse über Zielgruppen und Produktentwicklungen
Durch das Klicken des „Zustimmen“-Buttons stimmen Sie der Verarbeitung der auf Ihrem Gerät bzw. Ihrer Endeinrichtung gespeicherten Daten wie z.B. persönlichen Identifikatoren oder IP-Adressen für diese Verarbeitungszwecke gem. § 25 Abs. 1 TTDSG sowie Art. 6 Abs. 1 lit. a DSGVO zu. Darüber hinaus willigen Sie gem. Art. 49 Abs. 1 DSGVO ein, dass auch Anbieter in den USA Ihre Daten verarbeiten. In diesem Fall ist es möglich, dass die übermittelten Daten durch lokale Behörden verarbeitet werden. Weiterführende Details finden Sie in unserer  Datenschutzerklärung, die am Ende jeder Seite verlinkt sind. Die Zustimmung kann jederzeit durch Löschen des entsprechenden Cookies widerrufen werden.