Zum Inhalt springen

Wie Tonspur von Super 8 digitalisieren?


Empfohlene Beiträge

Geschrieben

Hallo,

mein alter Herr hat eine Menge Super 8 - Filme, die er digitalisieren will. Dafür hat er einen Somicon Filmscanner (Somikon Filmscanner: HD-XL-Film-Scanner & -Digitalisierer für Super 8 & 8 mm, bis 7'-Rollen (HD XL Filmscanner) (pearl.de)).

 

Hiermit gibt es aber zwei Probleme:

1) Der Filmscanner digitalisiert nur das Bild

2) Seine 120m Spulen passen nicht auf das Gerät und man muss auf kleinere umspulen

 

Ich frage in diesem Forum nach, um zunächst eine Lösung für das erste Problem zu erhalten.

 

Er hat noch einen alten Projektor, der folgende Anschlüsse hat:

 

Projektor:
https://ibb.co/qd1wp1b

 

Anschluss 1:

https://ibb.co/HF0GPRv

 

Anschluss 2:

https://ibb.co/xh9S6bj

 

Anschluss 3:

https://ibb.co/nqX0tWS

 

 

 

 

Kennt jemand diese Anschlüsse und kann mir erklären, wie wir  den  Ton abgreifen können?

 

Ich würde dann am PC die Bild- und Tonspur überlagern.

 

Vielen Dank!

Geschrieben

Die rechte Buchse auf dem Bild müsste ein VerstärkerAUSGANG sein. Der mittlere Pin ist Masse, einer von den 4 anderen sollte das Tonsignal liefern. Meines Wissens gibt / gab es passende Aapterkabel Chinch auf Diodenstecker. Ob da aber die Pinbelegung passt, weiß ich nicht. Ich vermute es aber.

Beim Projektor ist i.d.R. die andere Frage, ob er noch läuft und wenn ja, wie lange. Die Teile sind mittlerweile alle sehr alt und bedürfen in der Regel einer Überholung. Siehe hierzu zahlreiche Beiträge im Forum.

Prinzipiell keine schlechte Idee, wenn man selbst nicht mehr projezieren möchte, zu digitalisieren.

Für das Problem mit der Spulengröße bleibt eigentlich nur: Sich einen geeigneten Adapter besorgen. Z.B. einen Handumroller, der auch 8mm SPulen kann (glaube so mamcher von Siemens konnte das auch) und beispielsweise den Aufwickelarm des Scanners über eine geeignete Riemenscheibe / leere Filmspule mit der Antriebsseite des Umrollers z.B. über einen ANtriebsriemen / selbstgeschweißter PU-Riemen (diese grünen gibts überall in der Bucht) zu verbinden.

Lohnt nur für Bastler.

Filme zerschneiden wäre schade. Sind dann im Prinzip wertlos, denn kaufen würde keiner zerstückelte und möglicherweise mit zahlreichen Klebestellen zusammengeflickte Filme,

 

Fazit:

Basteln geht, kommt aber drauf an, wieviel Erfahrung, Werkzeug und Geschick man dabei hat.

Viele s8 Filme kommerzieller Art (ich gehe davon aus, dass es solche sind) gibt es auch auf DVD fertig zu kaufen. Nicht alle. Aber viele. Die müsste man nicht unbedingt digitalisieren.

Alle anderen ja.

Und da gibt es noch zahlreiche ANbieter (auch hier die Forumssuche mal bemühen) die eine professionelle Digitalisierung anbieten. Kostet sicher was, spart Arbeit und Frust ggf.

Tonspur am PC überlagern: Kann funkionieren, wenn die Filme nicht zu lange sind. Muss aber nicht. Kann zu Synchronisationsabweichungen Ton - Film führen. Der Projektor, von dem Du den Ton abnehmen willst, läuft nicht ganz genau stabil, sondern schwankt minimal in der Geschwindigkeit. Bei längeren Filmen am STück, kann das zu Problemen führen. Aber da hilft ausprobieren.

Fragen?

 

Geschrieben (bearbeitet)

Zuerst einmal herzlich Willkommen hier im Forum. Ich hoffe, Du hast mal die Suchfunktion in diesem Forum genutzt und die vielen ausschließlich negativen Erfahrungsberichte über dieses Gerät gelesen. Falls die 14tägige Rückgabefrist noch nicht abgelaufen ist, überzeuge Deinen alten Herrn, das er da absoluten Schrott gekauft hat, der minderwertige Qualität liefert und zudem die Filme beschädigt. 

Das Problem mit dem Ton ist mit dem Somikon nicht lösbar. Selbst wenn du mir die Filme herschickst und ich sie videosynchron digitalisiere, wirst du sie nicht mehr synchron angelegt bekommen. Ton und Bild werden anschließend leicht unterschiedliche Geschwindigkeiten haben und regelmäßig auseinanderlaufen. Falls er noch funktioniert könntest du den Projektor zum digitalisieren verwenden. Da sind aber ebenfalls viele Dinge zu beachten. Die sind hier im Forum aber ausreichend beschrieben worden. Auch, welche Kamera sich zum digitalisieren eignet.

Bearbeitet von Gizmo (Änderungen anzeigen)
  • Like 1
Geschrieben

Hallo!

Die Chinesen bauen mittlerweile auch größere Geräte, die zwar qualitativ nicht besser sind, aber dafür auch 120m-Spulen aufnehmen. (Ton können sie immer noch nicht.) Also Gerät umtauschen, sonst viel Erfolg beim Basteln!

Es gibt noch mehr Umbauanleitungen auf YouTube.

Geschrieben (bearbeitet)

Ggf. könnte dieses Kabel funktionieren:

https://www.amazon.de/Polig-Stecker-Klinkenstecker-Stereo-Audio-Schwarz/dp/B0053O6CSW

 

Es kann allerdings sein, dass der Stecker projektorseitig anders verdrahtet sein müsste…

96C86D40-725E-4D4C-B8C2-FA1D9BB3223F.jpeg
(Wenn sich der Projektor an die Standardbelegung hält, wäre es bei einer reinen Ausgabe korrekt, dass 1 und 4 nicht belegt sind.)

Bearbeitet von Benutzername (Änderungen anzeigen)
Geschrieben
vor 2 Stunden schrieb Benutzername:

In dieser Videoreihe wird erklärt, wie man das mit dem Ton machen könnte:

screenshot-filmton--abtastung.thumb.JPG.ee6b7832bb7e88784e0c1aa607546d95.JPG

 

Das soll ein ernst gemeinter Ratschlag sein? Mit einem Mikro den Lautsprecherton aufnehmen ?  🙄

 

Geschrieben

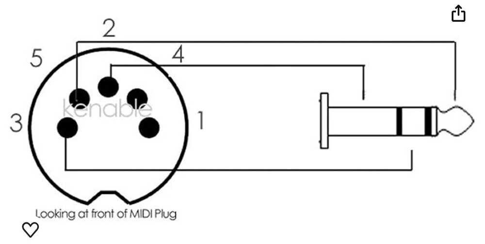
image.thumb.png.d27b1d9f1bad1a73b483643bac6b80b5.png

Das Schaltbild enthält einen kleinen Fehler. Die Spitze des Klinkensteckers führt laut Norm den linken Kanal, der Ring dahinter den rechten. Aus Pin 3 (oder 1) des DIN-Steckers kommt das Signal des linken Kanals, aus 5 (oder 4) der Rechte. Wenn anstatt des Klinkensteckers eine Buchse verwendet wird und der DIN Stecker in ein Mono-Gerät eingesteckt wird, dann sind in der DIN-Buchse am Gerät Kanal 3+5 und 4+1 zusammengeschlossen. Steckt man nun einen Mono-Klinkenstecker in die Kupplung wird die Tonspannung kurzgeschlossen. Dies ist die Ursache vieler Tonausfälle bei solchen Verkabelungen. Selbst BAUER P (16mm) und BAUER T (8mm) haben nicht die gleiche Belegung der Ausgangs-DIN-Buchse.

 

Das Video ist nicht besonders hilfreich. Aber es geht ja auch um mit dem Wolverine gescanntes Filmmaterial mit schlechter Digitalisierungs-Qualität. Da müssen auch Wege aufgezeigt werden, wie man den Ton möglichst schlecht aufnimmt und anschließend noch digital verhunzen kann.

Geschrieben

Da passt doch mein Filmchen, wie ich mit einem synchronisierbaren Super-8 Projektor nachträglich mithilfe einer aufgenommenen Impulskette die Tonspur eines 18 B/s-Filmes synchron in den Rechner spiele. Leider versteht die Zusammenhänge kaum jemand.

 

 

Geschrieben

Hallo,

herzlichen Dank an alle für die vielen Kommentare und Hilfestellung!

Das Gerät können wir leider nicht mehr zurückgeben (es liegt schon eine Weile im Schrank). Uns ist auch schon aufgefallen, dass Filme manchmal reißen, wir haben es aber auf das Alter der Filme geschoben und nicht auf das Gerät.

Wir haben eine Vielzahl von Filmen (eigene Aufnahmen, keine kommerziellen Filme), daher geht auf DVD kaufen nicht.

Interesse am Basteln wäre da, aber ob ich weit komme ist eine andere Frage. Ich habe damit und mit Elektrotechnik keine Erfahrung, deshalb sagt mir die PIN-Belegung auch nichts. Die Lösung mit dem Mikrofon hätte ich noch hinbekommen.😄

Ich werde mir die Kommentare in Ruhe anschauen müssen und sehen, wie weit ich komme. Jetzt stöbere ich erstmal etwas im Forum und schaue, wie Andere m.H. eines Projektors digitalisieren. Wenn ich Hilfe brauche, melde ich mich wieder.

 

Vielen Dank!

 

 

Geschrieben

@tretol

Ich empfehle die Filme von einem guten darauf spezialisierten Dienstleister digitalisieren zu lassen.

Insbesondere, wenn es sich um Tonfilme handelt.

Professionelle Geräte sind dafür eingerichtet.

Aber nicht zum örtlichen Fotohändler bringen ! Der greift zumeist auf qualitativ nicht so gute Anbieter zurück und schlägt auf dessen vermeintlich günstigen Preis seinen Gewinn drauf.

  • Thumsbup 1

Erstelle ein Benutzerkonto oder melde Dich an, um zu kommentieren

Du musst ein Benutzerkonto haben, um einen Kommentar verfassen zu können

Benutzerkonto erstellen

Neues Benutzerkonto für unsere Community erstellen. Es ist einfach!

Neues Benutzerkonto erstellen

Anmelden

Du hast bereits ein Benutzerkonto? Melde Dich hier an.

Jetzt anmelden
×
×
  • Neu erstellen...

Filmvorführer.de mit Werbung, externen Inhalten und Cookies nutzen

  I accept

Filmvorfuehrer.de, die Forenmitglieder und Partner nutzen eingebettete Skripte und Cookies, um die Seite optimal zu gestalten und fortlaufend zu verbessern, sowie zur Ausspielung von externen Inhalten (z.B. youtube, Vimeo, Twitter,..) und Anzeigen.

Die Verarbeitungszwecke im Einzelnen sind:

  • Informationen auf einem Gerät speichern und/oder abrufen
  • Datenübermittlung an Partner, auch n Länder ausserhalb der EU (Drittstaatentransfer)
  • Personalisierte Anzeigen und Inhalte, Anzeigen- und Inhaltsmessungen, Erkenntnisse über Zielgruppen und Produktentwicklungen
Durch das Klicken des „Zustimmen“-Buttons stimmen Sie der Verarbeitung der auf Ihrem Gerät bzw. Ihrer Endeinrichtung gespeicherten Daten wie z.B. persönlichen Identifikatoren oder IP-Adressen für diese Verarbeitungszwecke gem. § 25 Abs. 1 TTDSG sowie Art. 6 Abs. 1 lit. a DSGVO zu. Darüber hinaus willigen Sie gem. Art. 49 Abs. 1 DSGVO ein, dass auch Anbieter in den USA Ihre Daten verarbeiten. In diesem Fall ist es möglich, dass die übermittelten Daten durch lokale Behörden verarbeitet werden. Weiterführende Details finden Sie in unserer  Datenschutzerklärung, die am Ende jeder Seite verlinkt sind. Die Zustimmung kann jederzeit durch Löschen des entsprechenden Cookies widerrufen werden.