Gizmo
Mitglieder-
Gesamte Inhalte
1.446 -
Benutzer seit
-
Letzter Besuch
-
Tagessiege
22
Inhaltstyp
Profile
Forum
Galerie
Alle erstellten Inhalte von Gizmo
-
nur ne Idee: Verbesserung der S8-Tonqualität durch TV-Sprachverstärker ?
Gizmo antwortete auf k.schreier's Thema in Schmalfilm
Im Prinzip gibt es das längst. Bzw. gab es. Die Firma Gebuhr (Nürnberg) hatte einen synchronisierbaren CD-Player auf Basis eines Marantz PMD-320 im Programm. Dieser ließ sich mit Einzelbildimpulsen steuern, Falls Du einen haben willst, ich habe noch einen da, Lasereinheit frisch getauscht. Alternativ könnte man einen Test machen und LTC auf die Randspur spielen. Ich glaube aber, dass dafür die Gleichlaufschwankungen eines Super-8 Projektors zu groß sind. Als Slave synchronisierbare Player mit LTC gibt es auch nicht gerade häufig und vor allem nicht preiswert. Und einen Projektor auf LTC zu synchronisieren hat selbst Gebuhr aufgegeben. Er sagte mir mal, dass sei technisch zu aufwendig und 1:1 Impulse würden funktionieren. -
Moin zusammen, ich biete einen FITE 16 CN Filmprojektor an. Das Gerät ist elektrisch und mechanisch voll funktionstüchtig. Inklusive Bild- und Tonlampe, Projektionsobjkektiv Meopta 1,6/35mm. Auf Wunsch auch mit original Anamorphotenhalterung. Bevorzugt Selbstabholung in Bargteheide. Versand ist möglich, kostet aber 40 Euro, da das Verpackungsmaterial erst eingekauft werden muss. Gerät wiegt 22kg. Ich versende nur mit DHL. Bei Interesse bitte eine private Nachricht an mich.
-
Nee, lieber gleich Techniscope. Das ist dann wenigstens schön breit. 😉
-
Heißluftfön ist nicht gleich Heißluftfön. Ein Heißluftgebläse zum Schrumpfschlauch warm machen und Farbe abbrennen aus dem Baumarkt funktioniert nicht zum Löten. Auch nicht zum Entlöten. Der Luftstrom ist zu stark. Ich habe das selber schon ausprobiert. Außer dass das Lötzinn matt wird und die Platine angebrannt aussieht, passiert da nichts. Es muss schon ein spezielles Heißluft-Teil zum Löten sein.
-
Zum Beispiel so etwas? https://www.ebay.de/itm/297265904192?_skw=Entlötkolben&itmmeta=01JVY6137Z7DPRMTB8G1BRJYA9&hash=item45366dba40:g:v0YAAeSwK4RoEqsB&itmprp=enc%3AAQAKAAAA0FkggFvd1GGDu0w3yXCmi1ePgkEvaPMjI%2BSpC39u3ml8hymTOiLyLGEdqglEC4zhrRxfcjewLQffnpEy6mDr3kUD26BntA3D6YdDxrXajDwoHWEPCuZ6UH1zwx7r%2F9zGP%2BtuhPXd%2B7rsOZCrpwmy%2BiQ6QMiof7OMpI68LvcPUJeGopJ%2BdAH1EEp80X17dGmUGtXOacIKdX6BsciVZlwIAE3zteDg0siS64YF8j4Z5DBXwe68JAP3xMX9VNWgAPAKBBftIABVySmqev%2ByMJa9QiU%3D|tkp%3ABk9SR6C0hMbfZQ https://www.ebay.de/itm/387237386780?_trksid=p2332490.c101196.m2219&itmprp=cksum%3A387237386780d91a639598f2452595da5ad0ecffc7d6|enc%3AAQAKAAABIOqMkuSAG6ItrRvsdD9sfIOitRvq9S3zkbLwWuQv0VbI6jNBMxuv2D6ql7XdjmAaGq587YReegDA31SaEUDJC3SepwdkjouXNEONzwWPSEBOagHvNAvN3zUtmFTLOVH8KWoEZEIsqr8IEnJrXD%2BiaPPf6k2mWHFc2y9Z71atSXYClGn%2BhYLay94AMa7XyPhls15AkJtTIYfEPL62tEAWLCn%2FXNIrXcF6lZioLxRE9A%2FCw%2B3Us8wrlf%2BeDygMTuzL0tWE7mMGJ38wyiuebL7RcdFVB%2Flgl3lpllEs4IDkt5tPZrnSAAIrv5IZqpCPHEV%2BhsW3kdHBlJTjZV%2FrMoj7JxzzNnHmc4w3GZPAJFP%2FH5COkmD%2BHHw%2BPzcyJVMA2vKB5g%3D%3D|ampid%3APL_CLK|clp%3A2332490&itmmeta=01JVY61CB33A44QESQ6EHVR24C
-
Irgendetwas stimmt da nicht. Das ist aus der Ferne aber schlecht zu sagen. Du weißt hoffentlich, wozu der kleine Schalter (1-O-2) über der Lautsprecherbuchse des P8 gut ist? Damit kann man den internen Lautsprecher abschalten (Stellung O). Ansonsten einen vertrauensvollen Elektroniker bitten, nach rund 40 Jahren mal alle Elkos auf der Tonplatine zu tauschen und die Sieb-Elkos im Netzteil auf 2x2000µF erhöhen. Dann brummt der P8 auch nicht mehr im Lautsprecher. Und die Höhen sind plötzlich auch wieder da.
-
Bei mir ist seit einiger Zeit auch ein etwas betagter Verstärker von Grundig im Einsatz, nachdem bei meinem Pioneer A335 nach 25 Jahren der Netztrafo durchgebrannt ist. Das Teil muss aus einer Zeit des Übergangs von DIN auf Cinch stammen. Der Phono-Eingang ist schon Cinch. Line-Eingang auch. Der Rest DIN-Buchsen, die aber die neuen Pegel sehen wollen. TB-Eingänge kenne ich eigentlich nur aus Technik der ehemaligen DDR. Die REMA andante meiner Eltern hatte einen TB-Eingang, wo das UNITRA-Tonbandgerät dran hing. Auch die RFT-Anlagen von SV3000 bis hin zur HM-Serie hatten bis 1989 noch solche Eingänge mit DIN-Buchsen. Helge, poste doch mal ein Bild von Deinem Verstärker. 😉
-
Irgendwie scheinen wir aneinander vorbei zu reden. Vielleicht habe ich mich auch zu kompliziert ausgedrückt. Das Kabel habe ich selbst gelötet, um eine Adapterorgie zu beenden. Der P8 gibt nur ein Monosignal aus. Pin 4 und 5 sind nicht beschallen. Um das Monosignal auf die beiden Kanäle eines Hifi- oder Stereoverstärkers zu bekommen braucht man einen Adapter, der einen Cinchstecker auf der einen Seite und zwei Cinchstecker auf der anderen Seite hat. Zum Verstärker des P8: Pin1 vom Verstärkerausgang führt ein Signal, was heutige Verstärker als Line-Signal verarbeiten können. Pin3 führt ein Signal, was für heutige Verstärker viel zu leise ist. Wenn Du einen Uraltverstärker aus den 1970ern mit TB-Eingang hast, dann ist das Signal an Pin3 das Richtige. Die beiden Signale an Pin1 und 3 unterscheiden sich nicht nur im Pegel und der Impedanz, sondern auch darin das Pin1 vom Lautstärkeregler beeinflusst wird, Pin3 dagegen nicht.
-
Das Kabel habe ich selber gelötet. An einem Ende ist ein DIN-Stecker, am anderen Ende ist das Kabel aufgesplittet und führt zu zwei Cinch-Steckern. Ein Adapter von 5pol DIN auf vier Cinch-Stecker funktioniert auch. Der Line-Ausgang von allen Bauer P-Projektoren wird in der Endstufe abgegriffen. Das ist nach dem Lautstärkeregler. Das dieser das Ausgangssignal beeinflusst, steht auch in der Bedienungsanleitung. Aber der TB-Ausgang greift das Signal vor dem Lautstärkeregler ab. Dieses Signal wird davon nicht beeinflusst.
-
Ja. Wenn mein P8 an irgendeiner Anlage hängt, dann immer so. Es ist aber sinnvoll, den Lautstärkeregler des P8 nicht komplett bis zum Anschlag aufzureißen. Aber bis Stellung "5" können es aus eigener Erfahrung wirklich alle HiFi-Verstärker vertragen. Die Quellimpedanz von angeblich 100 Ohm ist kein Problem. Andere schließen ihren Verstärker ja sogar direkt an den Lautsprecherausgang an. Da kommen bei entsprechender Einstellung deutlich mehr als 1,5 Volt raus und viele Endstufen mögen keine hochohmigen Lasten am Ausgang.
-
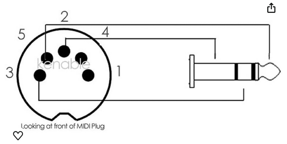
Das ist ganz einfach zu erklären. Bei der Super-8 Studioklasse sind PIN 3(L), 5(R) und 2 (GND) der Signalausgang. Beim P8 ist die Beschaltung genau andersrum: 1 und 2. Die muss man für Verstärker mir Cinch-Eingängen und alle modernen Verstärker nehmen. Das andere Signal ist für Uralt-Anlagen mit DIN-Buchsen. Dort war das der TA/TB Eingang. Alle Geräte mit Cinchbuchsen wollen deutlich höhere Eingangspegel und sind auch niederohmiger. Ein alter P6 wiederum hat die gleiche Steckerbelegung wie die Super 8 Studioklasse.
-
Moin Matthias, Danke für die Blumen. 😉 Für den Film wurde ein recht buntes Sammelsurium an Kameras eingesetzt. Am Anfang waren es eine Eclair NPR und meine Beaulieu R16. Bis dann die Eclair ausgerechnet bei den Lossau-Interviews nicht mehr wollte. Als Ersatz habe ich eine Arri SR2 angeschafft, die mir bis heute gute Dienste leistet. Auch eine Bolex RX3 kam zum Einsatz und zwar bei der Szene, wo ein Bauer T510 einen S8-Film einfädelt (kurz vor dem Interview mit Jürgen Lossau). Eigentlich war eine Trickaufnahme geplant, es sollte eine Überblendung ins Innenleben mit abgenommener Verkleidung werden. Nur irgendwie hat der Rücktransport des Films nicht funktioniert. Das Filmmaterial war Kodak Farbnegativ. Viel 500T, aber auch 50D und alter 100T sowie neuerer 200T, Vision 2 und 3. Das Projekt zog sich über 6 Jahre. Seinerzeit war Kodak noch recht großzügig, was Materialsponsoring anging. Ich habe damals nur die "Studentenpreise" bezahlen müssen. Und Kodak hatte noch ein Büro in Hamburg. Der Pierre Dechavanne hatte wirklich ein Herz für Filmer. Er arbeitet aber schon lange nicht mehr bei Kodak.
-
Als Insider kann ich verraten, dass die Gründe unterschiedlich sind. Möglicherweise als, Fahrradwagen für die Räder der Fahrgäste. Auch als Werkstattwagen wäre denkbar, allerdings ist das Laufverhalten dieser Wagen im Höchstgeschwindigkeitsbereich echt grenzwertig. Während der Fahrt sollte man alles in so einem Wagen anbinden oder festschrauben. Womit wir zum nächsten Problem kommen: das Mitführen eines solchen ehemaligen Expressgut-Wägelchens verringert die Höchstgeschwindigkeit des Zuges dramatisch. Die zweiachsige Variante auf dem Foto darf maximal 100 km/h laufen. Die beiden Loks sind für 140 km/h zugelassen. Als getarnter Wasservorrat wird der Wagen garantiert nicht mitlaufen. In den Tender der 012er passen weit über 30 Kubikmeter Wasser. Ich glaube die maximale Zuladung dieser Expressgutwagen lag bei rund 12 Tonnen. Kann mich auch irren. Wagenprüfer G habe ich 1993 gemacht. Seit 1997 bin ich bei DB Regio unterwegs. Ende OT.
-
Die Börse gefällt mir von Jahr zu Jahr besser. Danke für die vielen positiven Rückmeldungen zu "Quo Vadis, Schmalfilm?". In der Tat sind die persönlichen Begegnungen für mich das spannendste an der Filmbörse Deidesheim. Ich bin ein paar Kauffilme losgeworden und mein Namensvetter aus dem BCFI-Clubvorstand gleich alles, was er mitgebracht hatte. Gekauft habe ich drei Deckel für den Bauer P Fettbehälter. Den Filmabend habe ich als recht unterhaltsam empfunden, wozu auch meine Sitznachbarn beigetragen haben. Die Hoffnung, doch noch mal eine bessere Location für den Filmabend zu finden, wird wohl nicht sterben. Allerdings scheint es nach bisheriger Recherche einfach unmöglich zu sein. Danke für die vielen interessanten Gespräche. Im nächsten Jahr bin ich sicher wieder mit dabei.
-
Mit oder ohne Ton? Wir bringen einen Marantz SynCD mit. Zur Not können wir also CDs abspielen. 😄
-
Umrüstung eines Bauer P6 auf 150 W Xenpow-Lampe
Gizmo antwortete auf jacquestati's Thema in Schmalfilm
Zwischen den Kontakten am Hauptschalter sammelt sich mit der Zeit Dreck an. Es ist ja alles offen dort. Für Kleinspannung ist dieser Dreck nicht leitend. Habe schon erlebt, dass dann die Projektionslampe nicht mehr leuchten wollte, obwohl 24 V Spannung am Lampensockel messbar war. Für 230 V müssen die Isolationswerte aber bedeutend besser sein. 20 V Restspannung in Stellung "Aus" ist definitiv zu viel. Ich würde auch ein Relais nehmen. Für den Zweck würde auch ein ganz kleines in der Größe eines Bleistiftanspitzers reichen. Der Primärstrom vom Lampennetzteil wird kaum 2A überschreiten. -
Umrüstung eines Bauer P6 auf 150 W Xenpow-Lampe
Gizmo antwortete auf jacquestati's Thema in Schmalfilm
Mit dem Nockenschalter des P6 230 Volt Netzspannung zu schalten wird vermutlich funktionieren. Allerdings ist er dafür nicht ausgelegt worden. -
Die beiden Rainer vom Beaulieu-Club sind wieder mit dabei. Ich bringe den "Quo Vadis, Schmalfilm?" mit. Dieses Jahr bin ich vermutlich schon am Nachmittag in Deidesheim. Sofern das Auto vom anderen Rainer sich nichts bei der Bahn abgeguckt hat. Wer bringt eigentlich den 16mm Projektor mit? Ist das wieder Chris? Ggf. könnten wir unseren P8T400 mitbringen. Der läuft dann jedenfalls auch mit dem Marantz SynCD zusammen (bringen wir auch mit).
-
Meinen bescheidenen Russischkenntnissen nach handelt es sich bei dem Projektor um eine Designstudie Namens Quant 16 POS. Ein modern aufgebauter 16mm-Projektor nach westlichem Vorbild. Das Modell scheint nicht funktionsfähig gewesen zu sein, da von einer "künstlerisch-konstruktiven Ausführung" die Rede ist. Zeigt jedenfalls, dass es in der Sowjetunion durchaus Leute mit zeitgemäßen ästhetischen Vorstellungen gab. Die sowjetischen 16mm Projektoren, die ich kenne, sehen alle bedeutend hässlicher aus.
-
Hallo Friedemann, dieses Jahr bin ich etwas zeitiger in Deidesheim. Ich werde daher dieses Jahr den Film am Freitag Abend zeigen können. Er ist allerdings 28 Minuten lang.
-
15 kHz wird da erfahrungsgemäß kaum drauf gehen. Ich habe vor X-Jahren mal einen ELMO 16 CL nachjustieren müssen, der ab Werk nicht ganz korrekt eingestellt war. Beim Siemens 2000 wird das vermutlich noch mit der nötigen Sorgfalt vorgenommen worden sein. Daher habe ich diese Fummelei auch schon hinter mir. Die Bauer-Maschinen sind aber erfahrungsgemäß noch ordentlich eingestellt worden und halten das auch. Was ich Dir aber anbieten kann, auf einem 5 Meter Streifen Magnetfilm (16mm-Perfo) kann ich Dir auf der Randspur die üblichen 7 kHz aufzeichnen (oder auch etwas anderes). Ich habe einen BAUER P6 Studio. Da Du eh manuell einlegen musst, sollte das dünne Material kein Problem sein. Die Maschine habe ich jetzt aber schon fast 10 Jahre nicht mehr benutzt. In den 2010ern habe ich sie komplett restauriert, u.a. alle Elkos neu, alle Sieb-Elkos größer dimensioniert, einige Versorgungsleitungen für den Verstärker anders verlegt. Es dürfte der einzige P6 Studio sein, der nicht brummt. Allerdings habe ich sie nach der "Quo Vadis, Schmalfilm?"-Geschichte nicht wirklich mehr gebraucht. Die nachfolgenden Projekte habe ich nur noch digital fertig gestellt.
-
Natürlich gibt es so etwas. In der Mannheimer Apotheke kann man so etwas sogar noch kaufen. Das nötige Kleingeld und den Willen voraus gesetzt. https://www.wittnercinetec.com/epages/WittnerCinetec-Super8-16mm-Film.mobile/de_DE/?ViewAction=View&ObjectID=17088471&PageSize=5&Page=2 Zugegeben, Referenz und Bezugsbänder waren schon immer sehr teuer. So etwas hatte nur jemand, der so was öfters brauchte, sprich Werkstätten.
-
Ich glaube kaum, dass Du möchtest, daß der Magnetton von Deinen wertvollen DDR-Filmclubfilmen unwiederbringlich gelöscht wird. Denn Schettep will damit die Aufnahmestufe seines Projektors einstellen.
-
Herr Bogner war schon 2019 im Ruhestand, als er meine SR2 überholt hat. Ich kann ihn ebenfalls empfehlen. Hier hilft nur anrufen oder anschreiben. Seine Internetseite gibt es noch, wird aber augenscheinlich nicht mehr gepflegt und auch nicht mehr gewartet. http://cameraservice-bogner.de/album_5-2-3_003.htm Entgegen den Angaben auf der Seite macht er nur noch Arriflex-Kameras.
-
Die Motoren der Eclair NPR haben alle die 4pol-XLR-Buchse, die bis heute an professionellen Videokameras anzutreffen ist. Die Belegung ist die selbe geblieben. Du kannst auch ein 12V-Netzteil für solche Kameras nehmen. Oder einen Bleigel-Akku mit 12V/7Ah. Die Motoren der NPR sind eine Katastrophe. Kein Motor gleicht dem anderen. Es ist komplett unmöglich, einen solchen Motor ohne Erfahrung und Sachkenntnis beschädigungsfrei auseinander zu nehmen. Ich hatte eine mit Beala Motor und den Perfectone Motor. Sie sind auch noch unterschiedlich geschaltet, da es NPR ohne und mit Sucher-Offen Funktion gibt. Einzig die Stromversorgung und die etwas kuriose Schaltung für Pilotton und STartmarkierung sind bei allen Motoren gleich.
